AMD เอาบ้าง!! เตรียมเปิดตัวซีพียู Ryzen 8000 รหัส “Strix Point” ที่ใช้เทคโนโลยีคอร์เล็กและคอร์ใหญ่ที่เรียกว่า Zen4D
AMD เอาบ้าง!! เตรียมเปิดตัวซีพียู Ryzen 8000 รหัส “Strix Point” ที่ใช้เทคโนโลยีคอร์เล็กและคอร์ใหญ่ที่เรียกว่า Zen4D
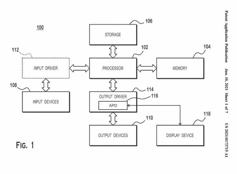
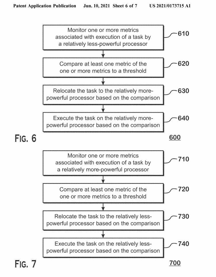
วันนี้ก็มีข่าวจากฝั่ง AMD หลุดออกให้ได้ชมกันครับกับข่าวของซีพียู Ryzen 8000 รหัส “Strix Point” ที่ใช้เทคโนโลยีคอร์เล็กและคอร์ใหญ่ที่เรียกว่า Zen4D ที่คล้ายกับทางฝั่งของ Intel Alder Lake ที่กำลังจะเปิดตัวเร็วๆ นี้ โดยช่วงที่ผ่านมามีการพูดถึงสถาปัตย์คอร์เล็ก+คอร์ใหญ่หรือแบบไฮบริดจ์นี้เป็นอย่างมากครับ โดยที่ผ่านมาทาง AMD ก็ยังซุ่มเงียบไม่เปิดเผยข้อมูลใดๆ ออกมา แต่ข้อมูลดังกล่าวนั้นหลุดมากจากทาง สำนักงานสิทธิบัตรสหรัฐอเมริกา ที่เผยภาพโครงสร้างของการทำงานซีพียูที่มีระบบ big.LITTLE เผยรูปโครงสร้างซีพียูที่มี Big และ Small โปรเซสเซอร์ทำงานร่วมกัน โดยการทำงานนั้นคาดว่าซีพียู Ryzen 8000 จะใช้เทคโนโลยีขนาด 3nm สถาปัตย์ Zen5 รวมกับ Zen4D ในแพ็คเกจเดียวในการทำงาน ในส่วนของการเปิดตัวนั้นเรายังไม่ทราบแน่ชัดครับ






ที่มา https://videocardz.com/

