ลือ!! NVIDIA จะใช้เทคโนโลยี Traversal Coprocessor ที่มีชิป GPU หลักประมวลผลอยู่อีกด้านและชิปประมวลผลร่วมอีกสองชุดในฝั่งตรงข้ามของ PCB ในการ์ดจอ NVIDIA GeForce RTX 3090 รุ่นใหม่ล่าสุด
| Share | Tweet |
ลือ!! NVIDIA จะใช้เทคโนโลยี Traversal Coprocessor ที่มีชิป GPU หลักประมวลผลอยู่อีกด้านและชิปประมวลผลร่วมอีกสองชุดในฝั่งตรงข้ามของ PCB ในการ์ดจอ NVIDIA GeForce RTX 3090 รุ่นใหม่ล่าสุด

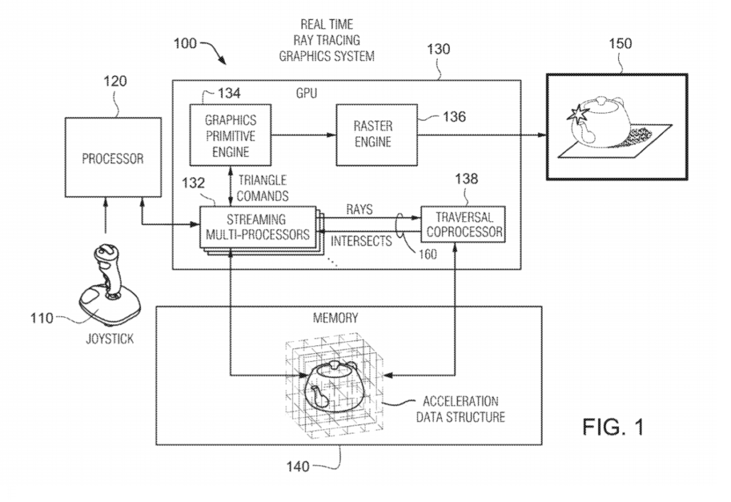
วันนี้ก็มีข่าวลือจากฝั่ง Nvidia มาให้ได้ชมกันครับจากรายงานของ Coreteks ที่เผยวีดีโอวิเคราะห์ให้เห็นว่าทาง Nvidia จะใช้เทคโนโลยี Traversal Coprocessor ที่มี GPU ประมวลผลอยู่อีกด้านและหน่วยประมวลผลร่วมอีกสองชุดในอีกฝั่งหนึ่งในการ์ดจอ NVIDIA GeForce RTX 3090 รุ่นใหม่ล่าสุด โดยข้อมูลดังกล่าวเชื่อมโยงกับที่เราได้เห็นภาพหลุดของฮีตซิงค์และตัวการ์ดจอ PCB ที่มีชุดระบายความร้อนทั้งสอง 2ฝั่ง ซึ่งเทคโนโลยีใหม่นี้จะเป็นการผสมผสานการทำงานร่วมของ GPU และชิปประมวลผลอีกสองชุดที่อยู่คนละด้านของ PCB โดยเรายังไม่ทราบรายละเอียดแน่ชัดครับว่าชิปดังกล่าวจะเป็นรูปร่างหน้าตาอย่างไรและมีการทำงานอย่างไร แต่จากการวิเคราะห์ก็ถือว่ามีความเป็นไปได้เช่นกันครับถ้าเรานำข้อมูลการออกแบบตัวการ์ดจอ NVIDIA GeForce RTX 3090 มาวิเคาะห์ร่วมด้วย ต้องรอดูกันครับว่า Nvidia จะใช้เทคโนโลยีแบบ Traversal Coprocessor จริงหรือไม่ น่าติดตามครับ





ที่มา https://wccftech.com/
EN










